
Tamer Adas | 11 lipca 2022, 07:15
Korporacja AMD zdecydowała się opatentować nową technologię, której głównym zadaniem ma być uzyskanie lepszej optymalizacji shaderów graficznych. Na jaki pomysł wpadli inżynierzy tym razem?
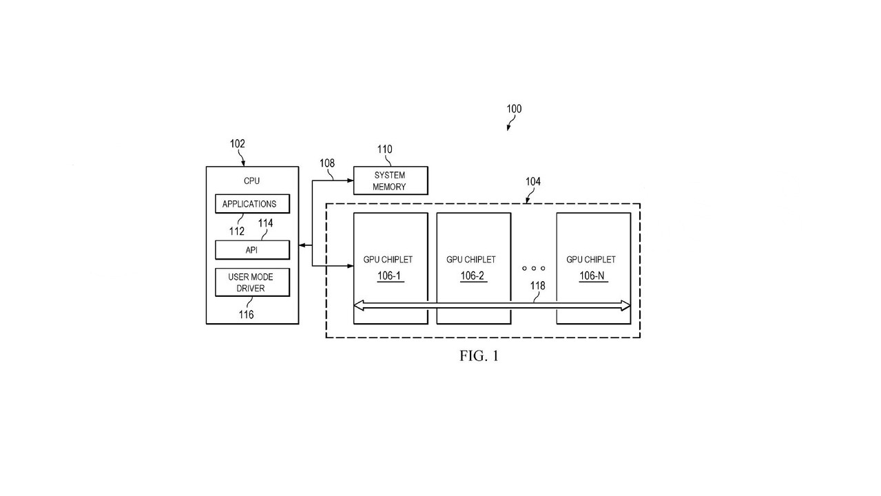
Zgodnie z opublikowanym w internecie dokumentem, całe zagadnienie opiera się o chiplety oraz odpowiednie ich zwolnienie z obciążenia. Aby uzyskać lepszą optymalizację, zdecydowano się cyfrowo podzielić daną scenę w grze na pomniejsze bloki. To właśnie one mają być kluczem.
Zapoznaj się także z:
Szczególnie w przypadku planowanych dwu-poziomowych chipletach, możliwe ma być poprawienie optymalizacji poszczególnych bloków, uzyskując w ten sposób najwyższą jakość, brak kompresji oraz sprawniejsze radzenie sobie z wymagającymi obiektami.
Cieniowanie ma być elementem, który zgodnie z tymi planami można znacząco usprawnić oraz wznieść na wyraźnie wyższy poziom. Opisywane rozwiązanie zdaje się być obecnie na mocno początkowym etapie, zatem ewentualne ostateczne zastosowanie, nastąpiłoby dopiero za kilka lat.
Próba zmniejszania całego procesu do prostego zadania, zdecydowanie nie będzie łatwa, ale tego typu próby nieco innego podejścia do samego sposobu obliczeń, mogą przynieść zaskakująco pozytywne skutki, czego powoli wyraźnie dostrzegalne są w dziedzinie anti-aliasingu.
Śledź nas na google news - Obserwuj to, co ważne w świecie gier!
źródło: https://wccftech.com/amd-pushes-to-optimize-shaders-in-gaming-with-new-gpu-chiplet-patent/
Komentarze [0]:Wszelkie Prawa Zastrzeżone.
Używamy informacji zapisanych za pomocą cookies i podobnych technologii m.in. w celach reklamowych i statystycznych oraz w celu dostosowania naszych serwisów do indywidualnych potrzeb użytkowników.
Korzystanie z serwisu oznacza akceptację regulaminu